If you are in need of a Active Loop Antenna to use with your RX with there are a number of options.
You can buy any number of well known brands for over a 100 GBP or one of the cheaper Chinese designs like the MLA-30+, or you can build your own.
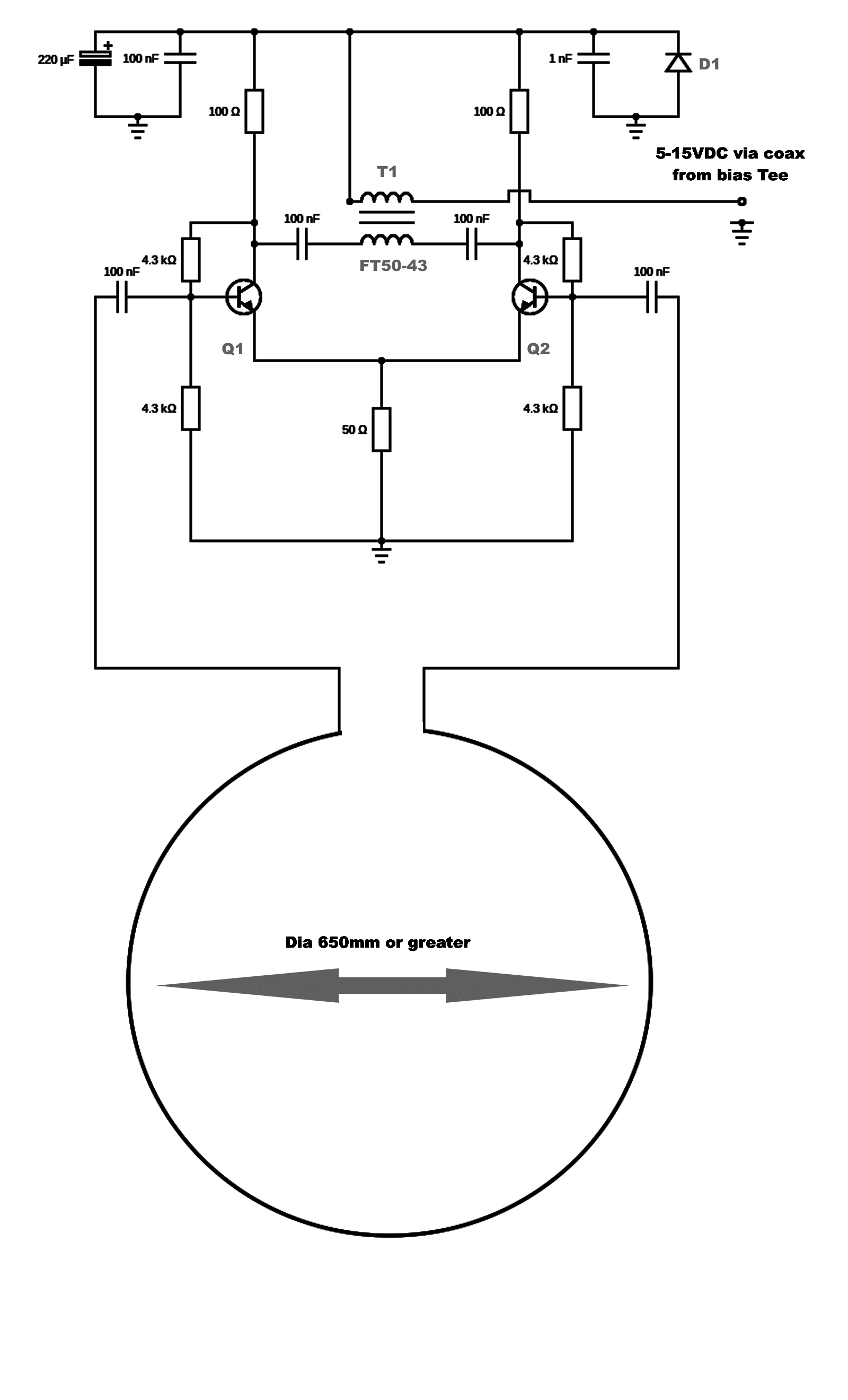
After trying a fair few designs I settled on one, it first appeared around 1984 in a design by G8CXQ.
Below is the circuit as I use it. Q1/Q2 are plastic 2N2222/PN2222 or equivalent.
T1 is a FT50-43 ferrite ring with 15 bifilar turns of enamelled wire or similar.
![]() |
| A 700C Bicycle wheel with a slot cut across the rim makes a perfect loop. |
I find the best way to construct the circuit is to build it ugly bug style on copper clad board.
Layout the circuit as it is drawn is the easiest way, see image below.
![]() |
| Layout the components out as they appear on the circuit. |
Next Image shows it boxed and ready to connect to a loop.
![]() |
| Circuit boxed with banana sockets for connecting to the loop and a 'F' type chassis socket for the coax connection. |
![]() |
| Active Loop Antenna power supply |
But here is the interesting thing, this antenna also works on VHF, especially on Band II FM, but here it is directional across the face of the loop.
So if the loop is pointing East-West for LF/MF/HF, on VHF its best reception is North-South.
I have two of these loops in the loft positioned at right angles to each other. Watch the video to see what happens as I switch between them, first LF/MF/HF and then VHF.
Another video showing the directional properties on VHF, switching between the two loops on 93.5 MHz lets me receive either the BBC or Radio France International.
![]() |
| 'Bicycle Loop' a 18 inch cycle rim is used as the loop. |




